

1,本实用新型涉及新能源汽车、充电桩设备技术领域,尤其涉及一种基于红外测距探测技术的新型充电桩。
2,新能源汽车作为国家鼓励和重点扶持的行业,电动车充电桩的数量也越来越多,车辆占用电动车充电车位并撞坏充电桩的事情时有发生,给电动车主停车带来不便的同时,也增加了充电桩的维修率,电动车位上车辆距离识别是电动车运营智能管理的重要部分。
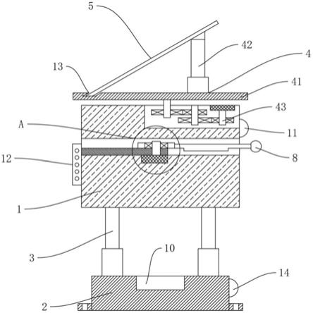
3,本实用新型的目的是为了解决现有技术中问题,而提出的一种基于红外测距探测技术的新型充电桩,本实用新型结构设计合理,采用太阳能作为补充电源,节约能源,同时具有良好的散热效果,能够有效的调节红外测距装置的监测角度,便于增大红外测距装置的监测范围,大大提高了新能源汽车车主的使用体验。



联系地址:
联系邮箱:
联系手机:
公司总机:
产品中心









